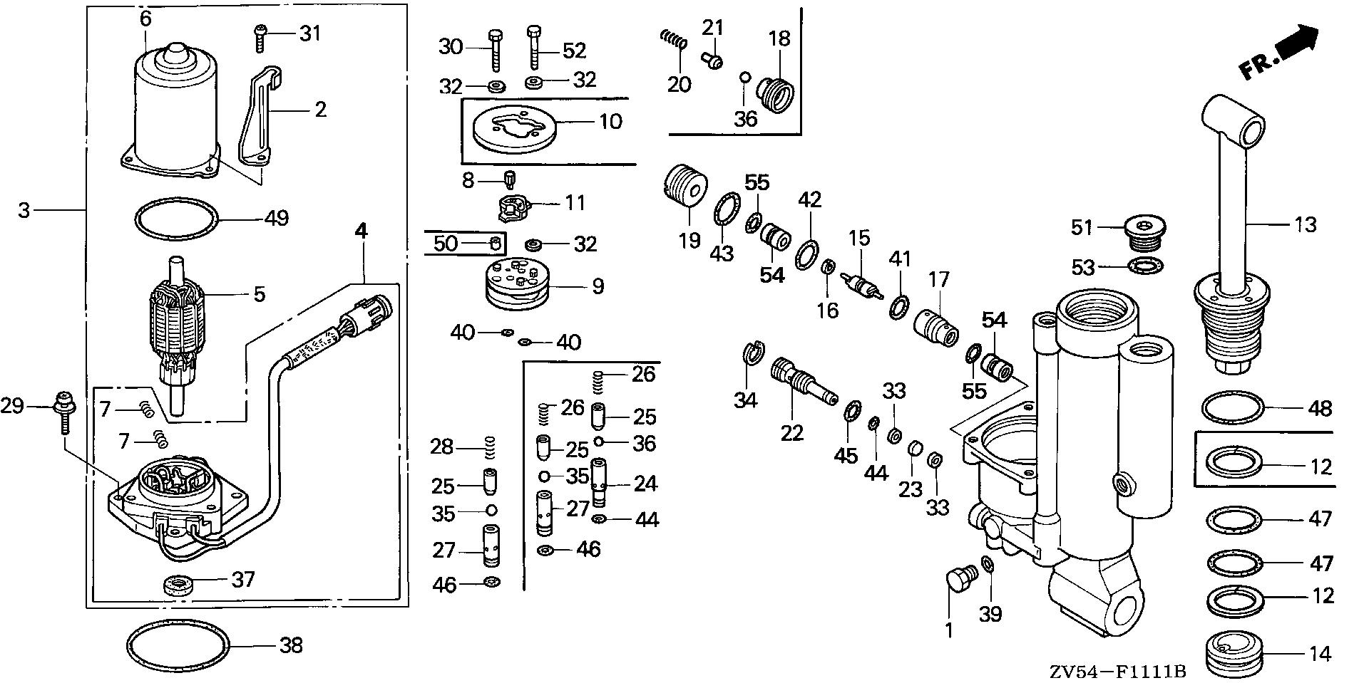
Ref No
Part Number
Description
Serial Range
Qty
Price
Ref No 1
Part Number 15626-ZV5-821
Description CAP, OIL HOLE
Serial Range 1000001 - 9999999
Ref No 2
Part Number 32115-ZV5-820
Description CLAMP, WIRE
Serial Range 1000001 - 9999999
Qty
Price $43.74
Add To Cart
Ref No 3
Part Number 36120-ZV5-821
Description MOTOR ASSY., POWER TILT
Serial Range 1000001 - 9999999
Ref No 4
Part Number 36122-ZV5-821
Description BRACKET ASSY. (NOT AVAILABLE)
Serial Range 1000001 - 9999999
Ref No 5
Part Number 36123-ZV5-821
Description ARMATURE
Serial Range 1000001 - 9999999
Ref No 6
Part Number 36129-ZV5-821
Description YOKE
Serial Range 1000001 - 9999999
Ref No 7
Part Number 36136-ZV5-821
Description SPRING, MOTOR
Serial Range 1000001 - 9999999
Qty
Price $9.60
Add To Cart
Ref No 8
Part Number 56113-ZV5-821
Description JOINT, DRIVE (NOT AVAILABLE)
Serial Range 1000001 - 9999999
Ref No 9
Part Number 56114-ZV5-821
Description PUMP
Serial Range 1000001 - 9999999
Qty
Price $428.38
Add To Cart
Ref No 10
Part Number 56115-ZV5-821
Description HOLDER, VALVE (NOT AVAILABLE)
Serial Range 1000001 - 9999999
Ref No 11
Part Number 56116-ZV5-821
Description FILTER B (NOT AVAILABLE)
Serial Range 1000001 - 9999999
Ref No 13
Part Number 56120-ZV5-821
Description ROD, PISTON
Serial Range 1000001 - 9999999
Ref No 14
Part Number 56130-ZV5-821
Description PISTON, FREE (NOT AVAILABLE)
Serial Range 1001071 - 9999999
Ref No 15
Part Number 56150-ZV5-821
Description SPOOL, VALVE
Serial Range 1000001 - 9999999
Qty
Price $59.12
Add To Cart
Ref No 16
Part Number 56151-ZV5-821
Description RING, BACK-UP (NOT AVAILABLE)
Serial Range 1001071 - 9999999
Qty
Price $10.48
Add To Cart
Ref No 17
Part Number 56161-ZV5-821
Description SLEEVE
Serial Range 1001071 - 9999999
Qty
Price $73.84
Add To Cart
Ref No 18
Part Number 56162-ZV5-821
Description SEAT D, VALVE (NOT AVAILABLE)
Serial Range 1001071 - 9999999
Ref No 19
Part Number 56163-ZV5-821
Description PLUG C (NOT AVAILABLE)
Serial Range 1000001 - 9999999
Ref No 20
Part Number 56164-ZV5-821
Description SPRING, CHECK VALVE (NOT AVAILABLE)
Serial Range 1001071 - 9999999
Ref No 21
Part Number 56165-ZV5-821
Description GUIDE B, SPRING
Serial Range 1000001 - 9999999
Qty
Price $17.36
Add To Cart
Ref No 22
Part Number 56171-ZV5-821
Description VALVE, MANUAL (NOT AVAILABLE)
Serial Range 1000001 - 9999999
Ref No 23
Part Number 56172-ZV5-821
Description PLATE, SEAT (NOT AVAILABLE)
Serial Range 1001071 - 9999999
Ref No 24
Part Number 56181-ZV5-821
Description SEAT, VALVE
Serial Range 1000001 - 9999999
Ref No 25
Part Number 56182-ZV5-821
Description GUIDE, SPRING (NOT AVAILABLE)
Serial Range 1000001 - 9999999
Ref No 26
Part Number 56183-ZV5-821
Description SPRING, VALVE (NOT AVAILABLE)
Serial Range 1001071 - 9999999
Ref No 27
Part Number 56191-ZV5-821
Description SEAT B, VALVE
Serial Range 1000001 - 9999999
Qty
Price $48.34
Add To Cart
Ref No 28
Part Number 56192-ZV5-821
Description SPRING B, VALVE (NOT AVAILABLE)
Serial Range 1001071 - 9999999
Ref No 29
Part Number 90001-ZV5-821
Description SCREW-WASHER
Serial Range 1001071 - 9999999
Qty
Price $7.72
Add To Cart
Ref No 30
Part Number 90002-ZV5-821
Description BOLT, HEX. (5X30) (NOT AVAILABLE)
Serial Range 1000001 - 9999999
Ref No 30
Part Number 90002-ZV5-821
Description BOLT, HEX. (5X30) (NOT AVAILABLE)
Serial Range 1001071 - 9999999
Ref No 31
Part Number 90134-ZV5-820
Description SCREW, PAN
Serial Range 1001071 - 9999999
Qty
Price $7.26
Add To Cart
Ref No 32
Part Number 90401-ZV5-821
Description WASHER, PLAIN (NOT AVAILABLE)
Serial Range 1000001 - 9999999
Ref No 33
Part Number 90402-V15-003
Description WASHER, SEAL
Serial Range 1001071 - 9999999
Qty
Price $5.80
Add To Cart
Ref No 34
Part Number 90604-ZV5-821
Description CIRCLIP (INNER)
Serial Range 1000001 - 9999999
Ref No 35
Part Number 90921-ZV5-821
Description BALL, STEEL (NOT AVAILABLE)
Serial Range 1018296 - 9999999
Ref No 36
Part Number 90922-ZV5-821
Description BALL, STEEL (NOT AVAILABLE)
Serial Range 1001071 - 9999999
Ref No 37
Part Number 91203-ZV5-821
Description OIL SEAL
Serial Range 1000001 - 9999999
Qty
Price $40.92
Add To Cart
Ref No 38
Part Number 91302-ZV5-821
Description O-RING (1.8X69.6)
Serial Range 1000001 - 9999999
Qty
Price $6.78
Add To Cart
Ref No 39
Part Number 91303-ZV5-821
Description O-RING (1.9X8.8)
Serial Range 1000001 - 9999999
Qty
Price $4.92
Add To Cart
Ref No 40
Part Number 91304-ZV5-821
Description O-RING (1.5X6.5)
Serial Range 1000001 - 9999999
Qty
Price $4.56
Add To Cart
Ref No 41
Part Number 91306-ZV5-821
Description O-RING (1.5X13.5)
Serial Range 1000001 - 9999999
Qty
Price $4.24
Add To Cart
Ref No 42
Part Number 91307-ZV5-821
Description O-RING (1.5X15.5)
Serial Range 1000001 - 9999999
Qty
Price $4.24
Add To Cart
Ref No 43
Part Number 91308-ZV5-821
Description O-RING
Serial Range 1000001 - 9999999
Qty
Price $3.84
Add To Cart
Ref No 44
Part Number 91309-ZV5-821
Description O-RING
Serial Range 1000001 - 9999999
Qty
Price $4.88
Add To Cart
Ref No 45
Part Number 91310-ZV5-821
Description O-RING
Serial Range 1000001 - 9999999
Qty
Price $4.88
Add To Cart
Ref No 46
Part Number 91311-ZV5-821
Description O-RING (1.5X3.5)
Serial Range 1000001 - 9999999
Qty
Price $3.72
Add To Cart
Ref No 48
Part Number 91317-ZV5-821
Description O-RING (2.0X44.5)
Serial Range 1000001 - 9999999
Qty
Price $4.92
Add To Cart
Ref No 49
Part Number 91318-ZV5-822
Description O-RING (2.0X55.5)
Serial Range 1000001 - 9999999
Qty
Price $7.24
Add To Cart
Ref No 50
Part Number 91501-ZV5-821
Description COLLAR (NOT AVAILABLE)
Serial Range 1000001 - 9999999
Ref No 52
Part Number 90002-ZV5-821
Description BOLT, HEX. (5X30) (NOT AVAILABLE)
Serial Range 1000001 - 9999999
Ref No 52
Part Number 90002-ZV5-821
Description BOLT, HEX. (5X30) (NOT AVAILABLE)
Serial Range 1001071 - 9999999