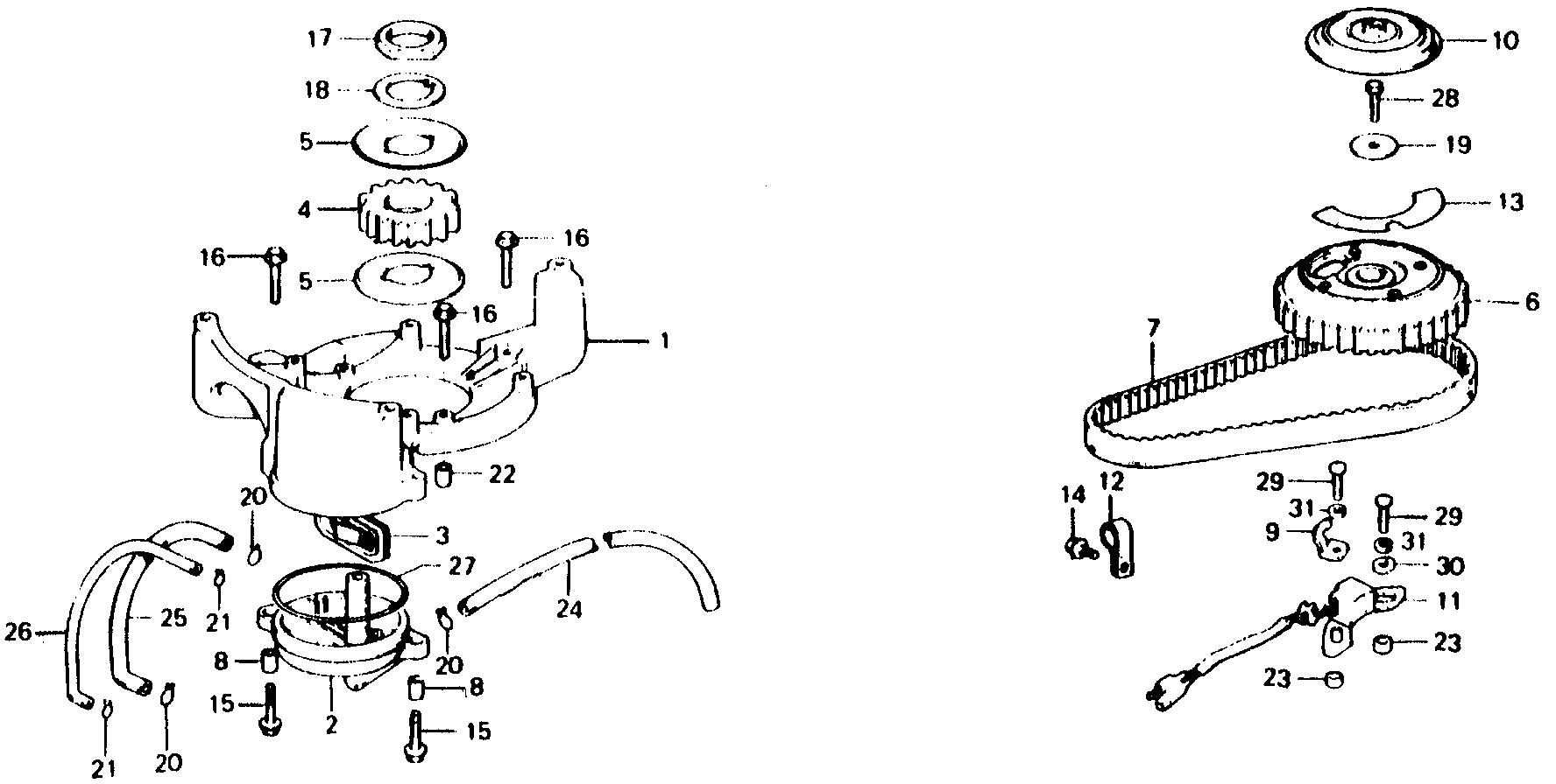
Mid - Large Outboard Engines (25 - 250hp) BF BF100 BF100B LA B100L-1300002-1303707 STARTER CASE@CAM PULLEY @PULSER COIL - Philadelphia Boat Supply

Ref No
Part Number
Description
Serial Range
Qty
Price

Ref No
1
Part Number
11301-881-020ZA
Description
CASE, STARTER *NH8* (DARK GRAY)
Serial Range
1000001 - 9999999
Qty
Price
$199.79

Ref No
2
Part Number
12311-881-000
Description
COVER, BREATHER
Serial Range
1000001 - 9999999

Ref No
3
Part Number
12370-881-000
Description
BODY, VALVE
Serial Range
1000001 - 9999999

Ref No
4
Part Number
14311-881-000
Description
PULLEY, TIMING (NOT AVAILABLE)
Serial Range
1000001 - 9999999

Ref No
5
Part Number
14312-881-000
Description
FLANGE, TIMING PULLEY
Serial Range
1000001 - 9999999
Qty
Price
$10.26

Ref No
6
Part Number
14320-882-600
Description
PULLEY, CAMSHAFT
Serial Range
1000001 - 9999999

Ref No
7
Part Number
14400-921-024
Description
BELT, TIMING
Serial Range
1000001 - 9999999
Qty
Price
$66.84

Ref No
8
Part Number
15623-881-000
Description
COLLAR A, DISTANCE
Serial Range
1000001 - 9999999

Ref No
9
Part Number
30207-882-600
Description
PLATE, WIRE CLAMP
Serial Range
1000001 - 9999999

Ref No
10
Part Number
30210-881-000
Description
COVER, POINT
Serial Range
1000001 - 9999999

Ref No
11
Part Number
30400-882-601
Description
COIL ASSY., PULSER (NOT AVAILABLE)
Serial Range
1000001 - 9999999

Ref No
13
Part Number
87581-921-600
Description
MARK, POINT
Serial Range
1000001 - 9999999
Qty
Price
$1.66

Ref No
15
Part Number
90121-881-000
Description
BOLT, FLANGE (6X22)
Serial Range
1000001 - 9999999

Ref No
16
Part Number
90123-881-000
Description
BOLT, FLANGE (6X28) (NOT AVAILABLE)
Serial Range
1000001 - 9999999

Ref No
17
Part Number
90202-881-000
Description
NUT, LOCK (24MM)
Serial Range
1000001 - 9999999
Qty
Price
$9.30

Ref No
18
Part Number
90451-881-000
Description
WASHER, LOCK (24MM) (NOT AVAILABLE)
Serial Range
1000001 - 9999999

Ref No
19
Part Number
90563-706-000
Description
WASHER, WHEEL (6MM)
Serial Range
1000001 - 9999999

Ref No
20
Part Number
90604-ZV0-000
Description
CLIP, TUBE (B12)
Serial Range
1000001 - 9999999
Qty
Price
$1.82

Ref No
21
Part Number
90605-921-000
Description
CLIP B7, TUBE
Serial Range
1000001 - 9999999

Ref No
22
Part Number
90702-881-000
Description
PIN, DOWEL (8X10)
Serial Range
1000001 - 9999999

Ref No
23
Part Number
90705-882-600
Description
PIN, DOWEL (7X4.5)
Serial Range
1000001 - 9999999
Qty
Price
$2.42

Ref No
24
Part Number
90803-881-000
Description
TUBE B, BREATHER (NOT AVAILABLE)
Serial Range
1000001 - 9999999

Ref No
25
Part Number
90804-881-010
Description
TUBE C, BREATHER
Serial Range
1000001 - 9999999

Ref No
26
Part Number
90805-881-000
Description
TUBE, OIL RETURN
Serial Range
1000001 - 9999999

Ref No
27
Part Number
91311-881-003
Description
O-RING (62X2.5)
Serial Range
1000001 - 9999999
Qty
Price
$4.12

Ref No
28
Part Number
92101-06022-0B
Description
BOLT, HEX. (6X22)
Serial Range
1000001 - 9999999
Qty
Price
$1.50

Ref No
29
Part Number
93500-05014-0B
Description
SCREW, PAN (5X14)
Serial Range
1000001 - 9999999
Qty
Price
$1.20

Ref No
30
Part Number
94101-05200
Description
WASHER, PLAIN (5MM)
Serial Range
1000001 - 9999999
Qty
Price
$1.50

Ref No
31
Part Number
94111-05800
Description
WASHER, SPRING (5MM)
Serial Range
1000001 - 9999999
Qty
Price
$1.38